Saturday, November 19, 2011
1975 Vehicles Jacking and Hoisting Guide
![]() |
| Click to Enlarge |
ALL MANUFACTURERS
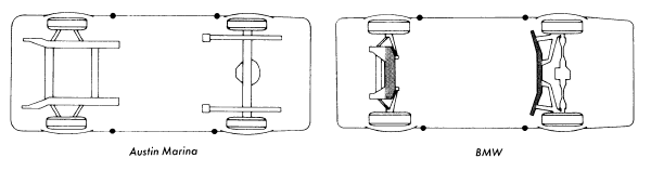
NOTE - These illustrations are not intended to represent exact structure of the manufacturer's frame, underbody or body outline. These are presented only to give the mechanic some point of reference.FRAME AND UNDERBODY
The following illustrations indicate areas (parts) of the underbody and frame which may be used to raise and support the vehicle, using either floor jack or hoist. Thse points are indicated by shaded areas on the frame (see sample illustration).OUTERBODY
Those points designated on the outline of the body were specifically designed to facilitate the use of the vehicle's own jack, but may also be used to raise and support the vehicle by means of floor jack or hoist. These jacking points are indicated by circular dots on the outline of the body (see sample illustration). If floor jack or hoist is employed, extreme care should be exercised to prevent damaging the outer body shell.![]() |
| Click to Enlarge Photo |
![]() |
| Click to Enlarge Photo |
![]() |
| Click to Enlarge Photo |
Subscribe to:
Post Comments (Atom)




No comments:
Post a Comment